The currently available interconnects for AMBA 3AXI on the market append the master number to the master ID bus to generate the slave ID. The slave ID width is equal to the master ID width plus the LOG2 of the number masters ports of the interconnect. The AXI protocol requires this width in order to allow correct routing of the response back to the master.
However, there is an inherent paradox if two or more interconnects are connected together, and masters on more than one interconnect are accessing slaves in the system. Based on the formula described above, if you try to calculate the required ID widths at various points in the system, you will be unable to arrive at an ID width that will allow correct routing of the response from system slaves to system masters.
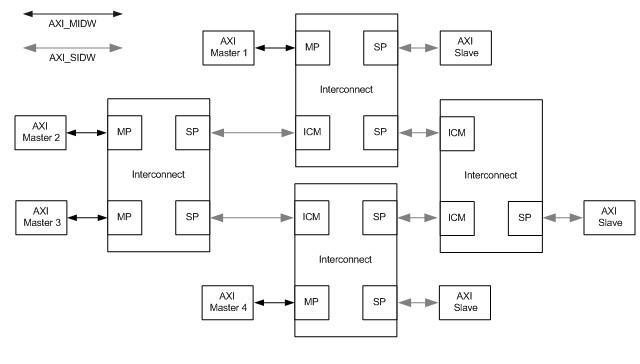
The objective is to support a multi-interconnect system that allows traffic to flow in all directions and imposes no restrictions on which interconnects the AXI masters connect to in the system. Figure 1 illustrates such a system.
Figure 1 – Example of a multi-interconnect subsystem topology

The latest version of the DesignWare Interconnect Fabric for AMBA 3 AXI, DW_axi, has been enhanced to distinguish between master ports of interconnects which are connected to slave ports of a connecting interconnect, (interconnecting master ports), and those that connect to real system masters. . This is achieved with an additional layer of hierarchy around all interconnects in the system. (Note: this is NOT an issue for multi-interconnect systems where all masters in the system are connected to the same interconnect.)
First, the LOG 2 of the number of system masters is added to the master ID bit width to compute the slave port ID width of all interconnects. Then, each system master in the system is assigned a unique master number; previously only masters common to an interconnect were unique. Finally, a unique set of system master numbers is assigned for connecting interconnects with more than one parallel connecting path, and then to each parallel path..
Visit Designware AMBA Solutions to download the latest version of the DW_axi.